Dyski do nadrukowania
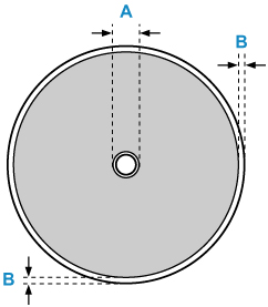
Obszar wydruku w przypadku dysków przeznaczonych do nadrukowania wynosi od 17 mm (0,67 cala) średnicy wewnętrznej do 1 mm (0,04 cala) średnicy zewnętrznej powierzchni drukowania.

Możliwy obszar wydruku
- A: 17,0 mm (0,67 cala)
- B: 1,0 mm (0,04 cala)

